Устойчивые логистические цепочки через Турцию, Казахстан, Беларусь, Китай, Индию, ОАЭ позволяют гарантировать поставки даже при внешнеполитических ограничениях orp@bakaut.biz

Глубинный вибратор для бетона: как выбрать

Содержание:

Высокочастотные глубинные вибраторы — это специализированное строительное оборудование, предназначенное для уплотнения бетона. Принцип их работы заключается в том, что вибрации, создаваемые наконечником, вызывают движение внутри смеси. Это позволяет улучшить её однородность, избавляет от воздушных пузырьков и излишней воды. В процессе использования в железобетонных конструкциях также усиливается сцепление между арматурой и бетоном. Вибраторы могут быть использованы как в монолитном, так и в сборном строительстве.

Почему уплотнение бетона так важно? Оно необходимо не только для повышения прочностных характеристик смеси. Пренебрежение этим процессом может привести к трещинам и разрушению бетонных конструкций, особенно в условиях российского климата.

Без уплотнения бетон застывает с большим количеством воздушных пузырьков, а также крупных пор и полостей. В них скапливается конденсат, который зимой замерзает. При замерзании вода расширяется и начинает давить на бетон. Это воздействие повторяется многократно в течение сезона, что со временем приводит к образованию микротрещин и разрушению.

Когда бетон подвергается высокочастотным вибрациям, пузырьки воздуха выводятся, смесь равномерно заполняет пространство. Единственный случай, когда уплотнение не требуется, — это заливка бетона в регионах с тёплым климатом, где температура не опускается ниже нуля.

Устройство и принцип работы вибратора для бетона

Как устроен вибратор для бетона

Конструкция механического вибратора для бетона состоит из трёх основных компонентов: двигателя, гибкого вала и вибрационного наконечника (вибробулавы). Длина гибкого вала может достигать девяти метров в некоторых моделях, и от её размера зависит мощность двигателя, необходимая для эффективной работы устройства. Чем глубже раствор, тем больше должно быть вибрационное усилие.

Принцип работы механического вибратора для бетона

Принцип работы устройства очень прост: асинхронный трёхфазный двигатель приводит в движение гибкий вал, который передаёт вибрацию на вибрационную часть устройства. Внутри металлического наконечника находится дебаланс, соединённый с гибким валом через пружинную муфту. Когда вал вращается, дебаланс катится по конусу, создавая колебания вибробулавы.

В виброуплотнителях используются два типа наконечников для обкатки дебаланса: через внутреннюю коническую втулку (внутреннее обкатывание) или через конический палец в корпусе (наружное обкатывание).

Для предотвращения передачи вибраций обратно на гибкий вал дебалансир соединён со шпинделем с помощью резиновой муфты. Резина также используется для уменьшения вибрации на управляющей части устройства. Для этого могут быть установлены демпфирующие вставки или рукояти, которые помогают снизить нагрузку на оператора.

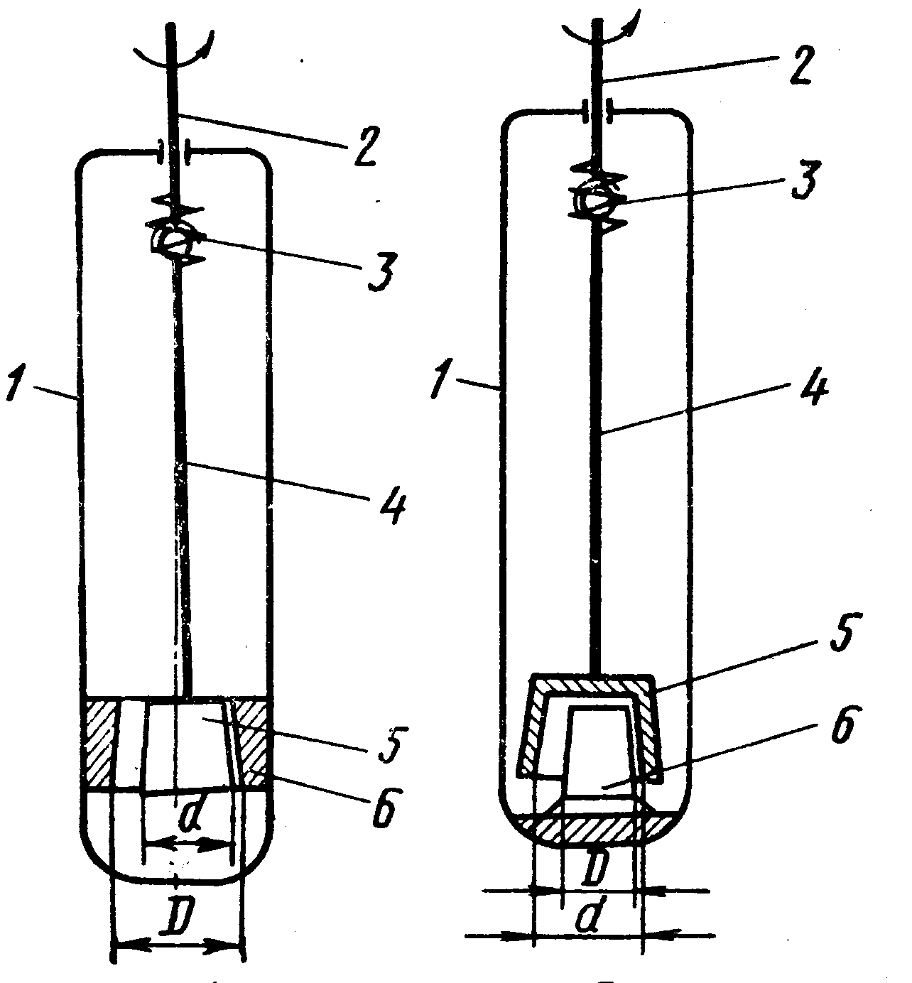
а) Вибробулава с внутренней обкаткой бегунка.

б) Конструкция с внешней обкаткой дебалансира.

1. Корпус. 2. Шпиндель. 3. Резиновая муфта. 4. Дебалансировочный бегунок. 5. Коническая втулка. 6. Конический палец.

Вибраторы для бетона: типы и характеристики

Чаще всего для уплотнения бетона применяются глубинные вибраторы, однако бывают случаи, когда их использование становится затруднительным (например, при наличии большого количества арматуры в заливаемом блоке). В таких ситуациях используются поверхностные (внешние) вибраторы. Эти устройства не контактируют напрямую с бетоном, а воздействуют на него через опалубку, на которой они устанавливаются. Однако их область применения весьма ограничена, и поэтому они не будут рассматриваться в данной статье. Теперь расскажем о погружных моделях.

По области применения

  1. Бытовые. Эти устройства предназначены для уплотнения небольших бетонных конструкций, высота которых не превышает 1 метра. Обычно они работают от однофазной электросети (220 В) и имеют мощность не более 1 кВт, что делает их идеальными для использования в домашних условиях.
  2. Профессиональные. Эти вибраторы оснащены более длинным гибким валом и имеют более мощный двигатель. Для их работы требуется подключение к сети (220 В), либо они могут работать от бензинового или дизельного генератора. Профессиональные модели используются при заливке монолитных конструкций, где необходимо обеспечить высокое качество бетона.

По типу привода

  1. Электрические (электромеханические). Бытовые модели обычно оснащены электрическим двигателем на 220 В. Эти устройства являются основным выбором в профессиональном строительстве.
  2. С ДВС (двигателем внутреннего сгорания). Эти модели бывают бензиновыми и дизельными в зависимости от требуемой мощности. Они находят применение в крупномасштабном строительстве, таком как возведение мостов и плотин, поскольку обладают большей эффективностью по сравнению с электрическими вибраторами. Также их основное преимущество — это автономность, что делает их удобными в эксплуатации. Однако есть и минусы: необходимо постоянно следить за уровнем топлива и периодически прерываться для дозаправки. Кроме того, работать с такими устройствами в закрытых помещениях нельзя из-за токсичных выхлопных газов.
  3. Пневматические. Эти вибраторы подключаются к компрессору и работают за счёт подачи сжатого воздуха. Их применяют в местах с повышенной пожароопасностью, поскольку они обеспечивают безопасность при строительных работах.

По типу вибраций

  1. Маятниковые (механические). Эти вибраторы представляют собой классическую конструкцию, которая обеспечивает до 9000 колебаний в минуту. Они отличаются невысокой стоимостью, простотой в обслуживании и ремонте. Применяются как в бытовых, так и в профессиональных строительных работах благодаря своей универсальности и возможности разборки для замены комплектующих.
  2. Импульсные (высокочастотные). Это наиболее эффективные устройства с частотой колебаний, которая может достигать 20 000 оборотов в минуту и даже выше. Особенность этих моделей заключается в том, что асинхронный двигатель встроен прямо в вибробулаву. Поскольку для работы требуется частота тока 200 Гц, а стандартная сеть предоставляет только 50 Гц, такие устройства могут работать только с частотным преобразователем, который иногда встроен в сам прибор. Эти вибраторы имеют высокую цену.

Как выбрать глубинный вибратор для бетона

При выборе вибратора для бетона важно сначала определить, для каких задач он будет использоваться, а затем подобрать соответствующие характеристики оборудования. Рассмотрим, какие параметры могут повлиять на качество уплотнения бетона.

Диаметр булавы вибратора

Этот параметр определяет радиус действия вибраций. Эффективное уплотнение обычно достигается на расстоянии 5–10 диаметров булавы. Соответственно, чем больше диаметр наконечника, тем быстрее и эффективнее будет процесс уплотнения. Однако выбор диаметра также зависит от степени армирования бетона: наконечник должен проходить между стержнями арматуры, то есть его диаметр не должен превышать расстояния между ними. Поэтому рекомендуется выбирать максимально широкий наконечник, который поместится между арматурными прутьями. Для бытовых моделей диаметр может составлять около 50 мм, а для промышленных — до 150 мм.

Длина вала

Длина вала определяет, на какую глубину можно будет проводить уплотнение бетона. Для бытовых задач обычно достаточно стандартного вала около 3 м. Для профессиональных работ — от 3 до 9 м, в некоторых случаях — до 12 м. Не стоит выбирать максимально длинный вал без необходимости, поскольку излишняя длина может привести к его загибам, близким к 90°, что ухудшит качество работы.

Частота колебаний

Частота колебаний вибратора зависит от характеристик бетона. Для смесей с крупными частицами этот показатель должен быть ниже (например, для малоподвижных смесей — до 3500 кол/мин). В большинстве случаев при работе с мелкозернистым бетоном, увеличение частоты колебаний способствует повышению производительности, поэтому предпочтительнее выбирать модели с максимально возможным показателем. Однако покупка высокочастотных вибраторов оправдана не всегда, так как они могут быть дороже.

Мощность

Мощность двигателя зависит от выбранного диаметра булавы: чем больше её размер, тем мощнее должен быть двигатель, чтобы обеспечить качественную вибрацию. Для бытового использования подходят модели с мощностью до 1 кВт, а для профессиональных работ — от 1,4 кВт и выше, до 5 кВт. С увеличением мощности также растут громоздкость и вес оборудования.

Как использовать механический вибратор для бетона

Подготовка

Перед началом работы необходимо собрать элементы булавы, вала и привода. Все резьбовые соединения нужно обработать герметиком, а затем провести визуальный осмотр для проверки герметичности всех соединений и корпуса. После этого вибратор подключается к сети, и проводится пробный запуск устройства.

Непрерывность работы

Процесс уплотнения бетона не должен прерываться до завершения заливки. Рекомендуется иметь два вибратора на стройплощадке, чтобы в случае поломки одного можно было сразу начать работать с другим.

Время воздействия

Каждое вхождение булавы в раствор должно длиться от 5 до 30 секунд. Время работы зависит от плотности смеси — с её увеличением оно растёт. Важно не оставлять наконечник в бетоне слишком долго, чтобы избежать расслоения. Успех процесса можно оценить по появлению «цементного молочка» на поверхности и пузырьков воздуха.

Угол вхождения

Наконечник должен входить в бетон строго вертикально.

Расстояние между зонами воздействия

Между зонами воздействия вибраций не должно быть слишком большого расстояния. Оптимально — от 5 до 10 диаметров наконечника. Площади воздействия должны перекрываться, чтобы избежать пропущенных участков.

Близость к арматуре

Наконечник не должен касаться арматуры или опалубки. Поэтому заранее рассчитывается его толщина, чтобы избежать таких ситуаций.

Завершение работы

Извлекать вибратор из раствора необходимо медленно, чтобы отверстие от него заполнилось бетоном. Однако в самом конце процесс следует ускорить, чтобы не дать вибрациям распространиться по поверхности.

Уход за оборудованием

После каждого использования важно тщательно очистить все детали от остатков бетона, чтобы избежать повреждений. Также рекомендуется регулярно проводить техническое обслуживание устройства, проверяя герметичность обшивки, чтобы исключить возможные утечки тока.

Полный ассортимент глубинных вибраторов можно найти в нашем интернет-магазине. Мы предлагаем оборудование ведущих производителей с доставкой по всей России. Если у вас возникли вопросы, звоните! Звонок по РФ бесплатный!

Поделиться